简介:自抗扰控制 (Active Disturbance Rejection Control,ADRC) 的思想和方法由中国科学院系统控制重点实验室的韩京清研究员在20世纪80-90年代提出,1998年正式以“自抗扰控制器”之名发表。
ADRC 创造性地提出了“总扰动”这一新概念和扩张状态观测器(ESO)这一估计“总扰动”的新方法,“总扰动”和传统的扰动概念不同,不但包含外扰也包含系统中各处存在的参数或模型的不确定性,实现了系统内部、外部不确定性描述的有机统一,把控制问题的核心归结为抗扰控制问题。ADRC研究的标准态——被控量的链式积分模型精准地抽象出了运动控制系统的本质特征。自抗扰控制已在航空航天、伺服跟踪、机器人运控、能源动力、过程控制等诸多控制领域得到了广泛的实际应用。本课程将从自抗扰控制的核心思想、应用研究及理论分析等方面进行介绍。
推荐阅读资料:
1. 韩京清.自抗扰控制技术. 北京: 国防工业出版社, 2008.
2. Huang Y, Xue W. Active disturbance rejection control: methodology and theoretical analysis. ISA Transactions,2014,53:963-976.
黄一,中国科学院数学与系统科学研究院研究员,中国科学院系统控制重点实验室副主任。1989 年本科毕业于华中理工大学,1992 年硕士毕业于中国科学院系统科学研究所,1995 年博士毕业于东南大学。1995 年至1997 年在中国科学院系统科学研究所从事博士后工作,1997 年至今在中国科学院系统控制重点实验室工作,主要从事不确定系统的分析与控制研究,特别是自抗扰控制的应用及理论分析。
分享时间:2024年4月23日 19:00-21:00
课程链接:https://campus.swarma.org/course/5314
分享方式:
-
腾讯会议(报名付费课程可见)
-
集智学园视频号直播
自抗扰控制(Active Disturbance Rejection Control, ADRC)由中国科学院韩京清老师提出。韩老师认为控制科学的问题是如何”根据系统对信号的某些响应特征或过程的某些实时信息来确定控制好一个过程的控制律“,而不是“靠系统的数学模型去找控制律”。而这些信息的提取,或者说反馈“是由系统的某些实时变量和由它们作出的某些变量的估计值的组合来实现”的。这种思想最终落实在了ADRC框架的设计上。
自抗扰控制技术是韩老师发扬PID控制技术的精髓(用误差来减少误差的过程控制思想)并吸收现代控制理论成果,大量运用计算机仿真实验来探索和改进而发展出来的。自抗扰控制是不依赖于被控对象精确模型、能够替代PID控制技术的新型实用数字控制技术。
自抗扰控制(ADRC)的核心思想是以被控输出量的简单积分器串联型为标准型,把系统动态中异于此标准型的部分视为“总扰动”(包括内扰和外扰),以扩张状态观测器(ESO)为手段, 实时地估计和消除“总扰动”,从而把充满扰动、不确定性和非线性的被控对象还原为简单的积分器串联型系统。
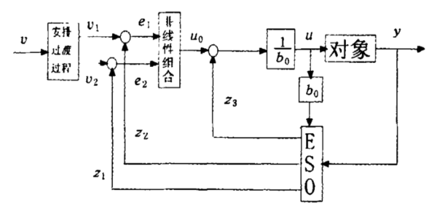
自抗扰控制器基本结构图,来源:韩京清,自抗扰控制技术,前沿科学2007.1总第1期

韩京清(1937年-2008年),系统与控制专家。长期从事控制理论与应用研究工作,是我国控制理论和应用早期开拓者之一。
韩京清多年从事现代控制理论研究,并取得突出成绩。从20世纪80年代开始反思现代控制理论的发展现状,对现代控制理论的研究方法提出了一系列触及本质的质疑,并克服重重困难,努力开创实用控制方法。特别是在他生命的最后十余年里,创新性地提出了自抗扰控制(ADRC)理念和方法,并积极推广ADRC技术,使其成为控制技术与理论发展的新动力。现在,ADRC研究已经枝繁叶茂,特别是近些年来,振奋人心的应用成果不断出现。
克利夫兰州立大学高志强致力于推进ADRC在工业上的应用,在美国成功实现了ADRC从学术到工业的跨越,2010年美国Parker Hannifin挤压机工厂的10条生产线采用了ADRC,实现了节能57%的效果; 2011年美国国家超导回旋加速器实验室的高能粒子加速器采用了ADRC,有效提高了对幅值和相位的控制;2013年美国德州仪器公司推出了一系列装有ADRC算法的运动控制芯片。
1999年韩京清带领控制室许可康、黄一完成第一个航天姿态控制课题,提出基于ADRC的飞行控制方法。经过20多年的发展,目前已经形成原创性的以ADRC为核心的飞行器控制设计新方法和新理论,攻克了多项新型飞行器研制中的技术壁垒,带来了一系列航天航空高性能飞行器控制系统核心技术创新,并已实际应用于我国航天航空多个新型飞行器的飞行控制中。
ADRC在中国多个重要工业领域得到越来越广泛和深入的实际应用,如高性能多用途服务机器人的运动规划和避障控制、无人碾压机的自动驾驶、电厂的低压加热器水位控制、磨煤机风温控制和过热汽混控制以及循环流化床机组协调控制等等。
对复杂动态系统的定量认识与科学调控,系统学与控制论是关键基础。集智学园联合中科院数学与系统科学研究院多位控制科学与工程领域专家共同开设了《控制科学前沿理论与方法》系列课程,为面向控制专业领域学生以及跨领域的学习者做深度科普,帮助学习控制论的核心思想、框架与方法。
通过学习这些课程,学生将了解控制论的发展历程,掌握经典和现代控制方法,探索控制系统的美妙之处。此系列课程共计10节,从2024年4月2日起,每周二晚19:00-21:00线上上课。欢迎感兴趣的朋友报名参与!
相关推荐
1. 郭雷:系统控制之美
2. 黄一:走马观花看控制发展简史
3. 一位走在时代前列的学者:纪念韩京清教授逝世十周年
4. 自抗扰控制: 工程控制的中国学派
5. 重温经典:模型论与控制论之辨
6. 学习经验:自抗扰一点入门经验分享
7. 工程应用:当ADRC碰撞上FPGA的思维火花
8. 推荐关注公众号:自抗扰控制。自抗扰控制公众号由美国俄亥俄州克利夫兰州立大学高志强创建。借助公众号平台来畅谈自抗扰和工程控制:梳理基本概念,澄清设计原理,把握问题的本质,探索研究方向和战略。从实际出发,对工程控制提纲挈领式地整体思考,为后续工作构建框架。
9. MATLAB自抗扰控制工具包:https://ww2.mathworks.cn/help/slcontrol/ug/active-disturbance-rejection-control.html
10. Github ADRC的一个汇总集,Github上有更多相关领域的材料,可根据需求自行探索:https://github.com/TianfaYao/ADRC/blob/master/%E8%87%AA%E6%8A%97%E6%89%B0%E6%8E%A7%E5%88%B6%E6%8A%80%E6%9C%AF.pdf
点击“阅读原文”,报名课程
本篇文章来源于微信公众号: 集智俱乐部